Сельсины
Сельсином называется информационная электрическая машина переменного тока, вырабатывающая напряжения, амплитуды и фазы которых определяются угловым положением ротора.
Сельсины позволяют осуществить без общего механического вала
согласованное вращение или поворот механизмов.
Известны два режима работы сельсинов: индикаторный и трансформаторный. При работе сельсинов в индикаторном режиме происходит передача на расстояние угла поворота механической системы.
При работе сельсинов в трансформаторном режиме передается сигнал,
воздействующий на исполнительный механизм таким образом, чтобы заставить его отработать заданный поворот.
Рассмотрим устройство и принцип действия однофазных двухполюсных
контактных сельсинов. Однофазная обмотка возбуждения, включенная в сеть переменного тока, расположена на явнополюсном статоре. На роторе размещены три пространственно смещенные относительно друг друга под углом 120o катушки синхронизации. Концы катушек соединены в общий узел, начала катушек выведены на контактные кольца. Обмотка возбуждения создает пульсирующий магнитный поток. Этот поток индуктирует трансформаторные ЭДС в катушках синхронизации. Наибольшая ЭДС индуктируется в катушке, ось которой совпадает с осью пульсирующего потока. При отклонении оси катушки ЭДС уменьшается по синусоидальному закону. Величина и фаза ЭДС в каждой катушке зависит от угла поворота ротора сельсина.
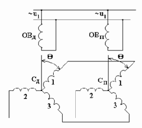
![]() Рис. 13.1 |
На рис. 13.1 приведена схема соединения однофазных сельсинов при индикаторном режиме работы. В схеме используются сельсин - датчик и сельсин - приемник, представляющие собой два совершенно одинаковых сельсина. ОВд и ОВп - обмотки возбуждения сельсина - датчика и сельсина - приемника. Сд и Сп - катушки синхронизации. |
относительно обмоток возбуждения, то в каждой паре катушек индуктируются одинаковые ЭДС. Катушки роторов обоих сельсинов соединены таким образом, что ЭДС в них направлены встречно друг другу, и ток в соединительных проводах отсутствует. Такое положение сельсинов называется согласованным.
Если повернуть ротор сельсина - датчика на угол ? , то в соответствующих катушках роторов наводятся различные по величине ЭДС, и в них возникают токи, которые, взаимодействуя с магнитными полями обмоток возбуждения, создают вращающие моменты. Ротор датчика удерживается в повернутом положении, следовательно, ротор приемника будет поворачиваться до тех пор, пока не исчезнет вращающий момент, т.е. пока не исчезнут токи в катушках сельсина, а это произойдет, когда ротор сельсина - приемника повернется на тот же угол ? , возникнет новое согласованное положение роторов сельсина - датчика и сельсина - приемника. На роторе сельсина - приемника устанавливаются стрелка и шкала, показывающие угол поворота сельсина - датчика.
Если необходимо осуществить дистанционную передачу угла поворота к механизму, требующему большого вращающего момента, то используется схема трансформаторного режима работы сельсинов (рис. 13.2).

Рис. 13.2
Обмотка возбуждения сельсина - датчика подключается к источнику однофазного тока. Катушки синхронизации датчика соединены с катушками синхронизации приемника, который работает как сельсин - трансформатор. Катушки синхронизации СП являются первичной обмоткой, а статорная обмотка ОВП - вторичной (выходной) обмоткой. Она через усилитель у cоединяется с исполнительным двигателем. Исполнительный двигатель через редуктор связан с валом сельсина - приемника.
Обмотка возбуждения датчика образует пульсирующий по горизонтали магнитный поток. В катушках СД индуктируются ЭДС, которые создают токи в роторных катушках датчика и приемника. Каждая катушка синхронизации сельсина - приемника создает свой магнитный поток, а результирующий магнитный поток имеет такое же направление, как и поток в сельсине - датчике.
В обмотке возбуждения сельсина - премника индуктируется ЭДС, величина и фаза которой зависят от угла и направления результирующего потока обмотки синхронизации приемника. Ось обмотки возбуждения приемника сдвинута на 90o относительно оси обмотки возбуждения датчика, поэтому, когда магнитный поток направлен горизонтально, в обмотке приемника ОВП не возникает никакой ЭДС. Это согласованное положение в трансформаторном режиме.
Если ротор сельсина - датчика повернуть на угол ? , то результирующий магнитный поток в роторе сельсина - приемника повернется тоже на угол ? , а на зажимах обмотки ОВП появится напряжение, зависящее от угла ? . Это напряжение подается на вход усилителя, а затем на исполнительный двигатель. Двигатель вращается, поворачивая обмотки управления. Вал ротора сельсина - приемника через редуктор связан с валом объекта управления. Когда вал объекта управления повернется на нужный угол, одновременно с ним повернется на угол ? вал сельсина - приемника. Возникнет новый согласованный режим, и движение прекращается.
Исполнительный механизм и сельсин - датчик не нуждаются в механической связи и могут находиться на большом расстоянии друг от друга.
Электрические системы дистанционной передачи угла поворота или вращения механизмов используются в радиолокаторах, в радиопеленгаторах и другой специальной технике.